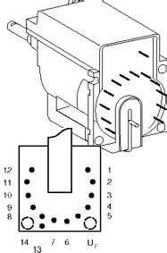
König: FAT 30400 - TRANSFORMATEUR DE LIGNE (TV) (TRANSFORMATEUR DE LIGNE (TV)) / TRANSFORMATEUR DE LIGNE (TV) NOKIA 28"/33" = 45360013...
FAT 30400
VOIR: 1182.9006 TRANSFORMATEUR DE LIGNE (TV) (TRANSFORMATEUR DE LIGNE (TV)) / TRANSFORMATEUR DE LIGNE (TV) NOKIA 28"/33" = 45360013
Remplacé par:
1182.9006
Termes de recherche: accessoire, achat, belgique, commande, equivalence, equivalent, fournisseur, mise ŕ niveau, panier, Paris, PayPal, pičce, pičces de rechange, prix, remplacement, spécifications, substitut, tęte laser, vent
Groupes d'articles
Ce produit est listé dans le groupe d'articles suivant:
Transformateurs de ligne de König





